Ir al contenido

HIGH POWER P.A | OPPUS Audionics Pro Green | 10" LH 400W Rms. + 1.7" neodimium HF 100W. 8 Oms 138 dB SPL

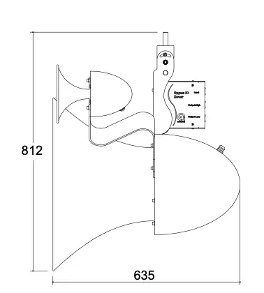
Altavoz Oppus 10

El sistema de altavoz Oppus 10, ha sido concebido para la amplificación no convencional de eventos de mediano y gran formato, donde se requiera una elevada presión sonora y excelente imagen acústica, en un gabinete, que además de cumplir la función acústica ha sido diseñado como una obra de arte, en conmemoración a los altavoces de principios del siglo XX.

Su diseño de difusor exponencial, permite lograr una proyección por encima de los 20 metros, con absoluta linealidad y coherencia de fase. Después de utilizar un sistema Oppus 10 para tus festivales, no querrás volver a la amplificación convencional.

Aplicaciones

  • PA Disco

  • PA Festivales

  • Monitor de gran formato

Audionics Pro
Términos y condiciones
Grantía de devolución de 30 días
Envío: 2-3 días laborables